Scara KRAUSE de acces / evacuare / incendiu, otel zincat, 16,80 m

30.371,00lei TVA inclus

Scara fixă de acces și evacuare incendiu Krause, realizată din oțel zincat, este o soluție profesională robustă, destinată clădirilor industriale, comerciale și tehnice unde este necesară o cale sigură de evacuare și un sistem de acces durabil. Cu o înălțime totală de 16,80 metri, această scară este proiectată și fabricată în conformitate cu DIN 14094-1, fiind adecvată inclusiv pentru utilizare de către persoane fără cunoștințe sau experiență de specialitate.

Datorită tratamentului de zincare, scara oferă o rezistență excelentă la coroziune, fiind recomandată în special pentru montaj exterior sau în medii industriale solicitante.

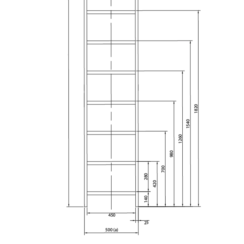
Pentru scara de acces / evacuare incendiu Krause cu înălțimea totală de 16,80 m, construcția este realizată din trei tronsoane („trei ape”), deoarece, conform DIN 14094-1în cazul în care înălțimea totală de urcare depășește 10 m, este obligatorie prevederea unui podest intermediar de odihnă.

Podestul de odihnă trebuie montat din 6 în 6 metri de urcare, având rolul de a permite oprirea în siguranță a utilizatorului, reducerea efortului fizic și asigurarea continuității traseului de evacuare.

Această configurație constructivă asigură conformitatea cu cerințele de securitate la incendiu și permite utilizarea scării inclusiv de către persoane fără pregătire sau experiență de specialitate, în condiții de siguranță maximă.

tbi bank logo
Cumpără acum, plătește mai târziu
de la 7602.75 LEI / lună
Credit module tbi bank 3.4.1

1318.21 Lei x 24 rate

SKU: KR-836069 Categorii: ,
Descriere

Această scară de evacuare Krause este echipată din fabrică cu sisteme de protecție obligatorii, care reduc semnificativ riscul de accidentare:

Corespunde DIN 14094-1 – standard recunoscut pentru scări de incendiu

Cos de protecție format din 13 cercuri orizontale și 31 contrafișe verticale, conceput pentru a împiedica căderea pe spate

Cosul de protecție se montează de la max. 3 m față de sol, conform normativelor

Înălțimea totală a scării trebuie să depășească cu min. 1,1 m înălțimea cornișei, pentru acces sigur pe acoperiș sau platformă

Scara Krause este livrată pregătită pentru montaj profesional și permite adaptări direct la fața locului:

Dacă înălțimea de urcare necesară este mai mică decât cea livrată, scara se poate scurta la partea inferioară, direct la montaj

Echipată standard cu prinderi de perete de 20 cm față de fațadă / structura de rezistență

În cazul clădirilor cu panouri sandwich sau termoizolație, este necesară utilizarea unor prinderi reglabile pe adâncime, astfel încât:

  • prinderile să traverseze complet stratul de izolație

  • fixarea să se realizeze în structura de rezistență

  • distanța finală dintre scară și fațadă să rămână 20 cm

Exemplu practic:

  • Izolație față de structura de rezistență: 200 mm

  • Distanță necesară scară–fațadă: 200 mm – Prinderi reglabile necesare: 270–400 mm

 Domenii de utilizare recomandate

  • Clădiri industriale și logistice

  • Depozite, hale și spații tehnice

  • Clădiri comerciale și birouri

  • Acces la acoperișuri, instalații HVAC, platforme de mentenanță

  • Căi secundare de evacuare în caz de incendiu

Krause este un producător german de top, recunoscut pentru siguranță certificată, durabilitate și conformitate cu normativele europene. O scară de evacuare Krause reprezintă o investiție sigură pentru proiecte unde respectarea legislației ISU și protecția utilizatorilor sunt esențiale.

Material: Otel zincat

Conform DIN: 14094-1 – scari de evacuare de incendiu

Traversa de iesire: 2 buc

Element scara 1.96m: 1 buc

Element scara 2.80m: 3 buc

Element scara 3.64m: 3 buc

Conector elemente scara : 8 buc

Sistem rigid de fixare la perete(max. 200mm): 28 buc

Inel (cerc) de protectie contra caderii: 13 buc

Contrafise verticale: 31 buc

Inel (cerc) 3/4 de protectie contra caderii: 8 buc

Platforma intermediara: 2 buc

Conectori pentru inelele duble de protectie: 4 buc

Inaltime urcare: 16.80 m

Inaltime scara: 17.90 m

Informații suplimentare
Greutate40 kg
Dimensiuni300 × 20 × 60 cm
Producator
Recenzii (0)

Recenzii

Nu există recenzii până acum.

Fii primul care scrii o recenzie pentru „Scara KRAUSE de acces / evacuare / incendiu, otel zincat, 16,80 m”

Adresa ta de email nu va fi publicată. Câmpurile obligatorii sunt marcate cu *

Modalitati de livrare

Comenzile se liveaza prin servicii de curierat, costul livrarii fiind suportat de catre noi pentru comenzile cu o valoare mai mare de 5000 RON.

Pentru comenzile a caror valoare este sub 5000 RON, transportul este suportat de catre client, conditiile si costurile de livrare sunt cele prezentate de pe site-urile firmelor de curierat.

Vanzatorul se obliga sa expedieze Bunurile si Serviciile in sistem de curierat door-to-door catre Cumparator cu exceptia produselor agabaritice (lungime peste 3m sau greutate peste 500kg), care vor fi ridicate direct de catre

Cumparator sau vor fi puse la dispozitia acestuia la sediul curierului.